固態繼電器與機電繼電器相比,是一種沒有機械運動,不含運動零件的繼電器,但它具有與機電繼電器本質上相同的功能。固態電子元件組成的無觸點開關元件,他利用電子元器件的點,磁和光特性來完成輸入與輸出的可靠隔離,利用大功率三極管,功率場效應管,單項可控硅和雙向可控硅等器件的開關特性,來達到無觸點,無火花地接通和斷開被控電路。
固體繼電器的工作原理
固態繼電器是利用現代微電子技術與電力電子技術相結合而發展起來的一種新型無觸點電子開關器件。它可以實現用微弱的控制信號(幾毫安到幾十毫安)控制0.1A直至幾百A電流負載,進行無觸點接通或分斷。固體繼電器是一種四端器件,兩個輸入端,兩個輸出端。輸入端接控制信號,輸出端與負載、電源串聯,SSR實際是一個受控的電力電子開關,其等效電路如圖。

由于固體繼電器具有高穩定、高可靠、無觸點及壽命長等優點,廣泛應用在電動機調速、正反轉控制、調光、家用電器、烘箱烘道加溫控溫、送變電電網的建設與改造、電力拖動、印染、塑科加工、煤礦、鋼鐵、化工和軍用等方面。
固態繼電器的工作原理
固態繼電器與通常的電磁繼電器不同:無觸點、輸入電路與輸出電路之間光(電)隔離、由分立元件.半導體微電子電路芯片和電力電子器件組裝而成,以阻燃型環氧樹脂為原料,采用灌封技術持其封閉在外殼中、使與外界隔離,具有良好的耐壓、防腐、防潮抗震動性能。
固體繼電器由輸入電路、驅動電路和輸出電路三部分組成。
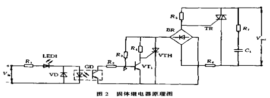
這里僅以應用較多的交流過零型固體繼電器為例,介紹其工作原理。該電路采用了過零觸發技術,具有電壓過零時開啟,負裁電流過零時關斷的特性,在負載上可以得到一個完整的正弦波形,因此電路的射頻干擾很小。該 電路由信號輸人電路、零電壓檢測控制電路、工作指示電路、雙向晶閘管控制電路和吸收電路幾部分組成。采用了光電耦合器GD作為輸入電路和輸出電路之間的隔離元件,VD是防止Vin正負接反燒壞GD。

電路工作過程:當無輸入信號時,GD中的光敏三極管裁止,VT1是交流電壓零點檢測器,通過R3獲得基極電流而飽和導通,將VTH的門極箝在低電位而處于關斷狀態。當有輸入信號時,光敏三極管導通,此時VTH的狀態由VT1決定,如此電源電壓大于過零電壓時,分壓器R3、R2的分壓點P電壓大于VBE1,VT1飽和導通,SCR門極因箝位在低電位而截止,TR的門極因沒有觸發脈沖而處于關斷狀態。只有當電源電壓小于過零電壓,P點電壓小于VBE1時G1截止,SCR門極獲得觸發信號而導通。在TR的門極獲得觸發脈沖,TR就導通.從而接通負載電源。
當輸入信號關斷后GD中的光敏三極管截止, G1飽和導通使SCR門極箝位在低電位而關斷,但是此時TR仍保持導通狀態,負載上仍有電流流過,直到負載電流隨VAC減小到小于雙向晶閘管TR的維持電流后才會自行關斷,切斷負載電源。

由于觸發信號方式不同,AC—SSR還分為過零型觸發(Z型)和非過零型或隨機型(P型)觸發兩種,如圖為其工作波形圖。可見過零型和非過零型之間的區別主要在于負載交流電流導通的條件。過零型在輸入信號Vin施加的t1時刻,由于此時電源電壓處在非過零區,其輸出端不導通,只有當電源電壓到達過零區t2時,輸出端負載中才有電流流過。而非過零型在輸入信號Vin施加的t1時刻,不管電源電壓處在什么狀態,負載立刻導通。這兩種類型的固體繼電器關斷條件則相同。



